Обслуживание ПАЗ Вектор NEXT (дв.ЯМЗ, CNG - газовый)
Ремонт и обслуживание газового автобуса ПАЗ-320405-14 ВЕКТОР НЕКСТ (CNG)

ПАЗ-320405-14 ВЕКТОР НЕКСТ в версии с двигателем работающем на сжатом природном газе (КПГ, он же CNG), версия особая, автобус пользуется популярностью среди городских перевозчиков, и так же, как и любая другая техника требует своевременного обслуживания.
Оборудован автобус газовым двигателем ЯМЗ 53444 Е5 CNG (метан).
ЯМЗ 53444это 4-цилиндровый газовый двигатель (CNG), объёмом 4.4л. и мощностью, 150л.с., 4-тактный, с рядным расположением цилиндров, жидкостной системой охлаждения, турбонаддувом и охлаждением наддувочного воздуха в теплообменнике типа “воздух-воздух”.
Газовые двигатели ЯМЗ разработаны совместно с компанией Westport на базе дизельных двигателей семейства ЯМЗ-530, и на 90% единообразны с ними, но уже переведены на цикл Отто. В его комплектацию входят свечи, дроссельная заслонка, катушки зажигания. Степень сжатия в газовом моторе понизилась до 12 единиц. Для уменьшения пришлось изменить поршни, так как камера сгорания находится в днище, а не в головке цилиндров.
Свечи зажигания вкручивают через нержавеющую резьбовую втулку-проставку на место установки форсунок у дизеля. Форсунки ЯМЗ-530 мотора расположены под клапанной крышкой, поэтому для замены свечей потребуется снять крышку. Так как процесс трудоемкий, то не все свечи можно будет установить. В таких моторах применяются жаропрочные свечи от фирмы Bosch с платиноиридиевыми электродами. Таких свечей хватит на примерно на 40 тыс. километров.

К свечам проведены высоковольтные провода через топливные трубки в головке цилиндров, а электронное управление зажиганием и подача газа в моторе похожа на современные системы обычного бензинового двигателя. Особым преимуществом газового оборудования является его морозостойкость – в России, при морозах в 40 градусов, такой мотор будет более чем жизнеспособен.
_______________________________________
Техническое обслуживание (ТО) ПАЗ ВЕКТОР НЕКСТ
проводится 1 раз в 20 000км пробега или 1 раз в 12 мес..
_______________________________________
Плановое ТО включает в себя проведение осмотра, диагностических процедур и устранение неисправностей, выявленных в ходе обслуживания.
Перечень основных работы проводимых в рамках ТО:
- Необходимо провести диагностику электронной системы управления двигателем.
Проверяется:
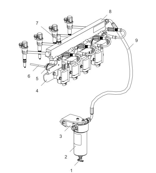
- герметичность компонентов газового оборудования, трубопроводов и соединений, состояние поверхности газовых трубок, шлангов системы питания двигателя газом на отсутствие трещин, вздутий и механических повреждений
- электрические соединения и соединения газовой магистрали;
- работоспособность газового редуктора, газовых форсунок и газовой рампы
- крепление редуктора;
- крепление газовых баллонов,
- крепление газового заправочного устройства
Плановые замены:
- Замена свечей зажигания 1 раз в 40 000км пробега. или раз в два года
- Замена фильтра тонкой очистки газа производиться каждые 20 тыс. км или один раз в год
- Замена фильтра грубой очистки газа проводиться каждые 60 000 км или раз в два года
- Переборка газового редуктора каждые 60000 км пробега или один раз в два года
В процессе обслуживания могут быть выявлены и устранены серьезные неисправности, приводящие к сокращению межремонтного периода. Регулярное прохождение техобслуживания позволяет снизить затраты на содержание парка и продлить его эксплуатацию.
Если у вас остались вопросы или вы хотите записаться на техническое обслуживание позвоните нам по номеру: 977-17-17